证券之星消息,根据天眼查APP数据显示建霖家居(603408)新获得一项发明专利授权,专利名为“一种先导阀”,专利申请号为CN201811210699.9,授权日为2025年6月6日。

图片来源于网络,如有侵权,请联系删除
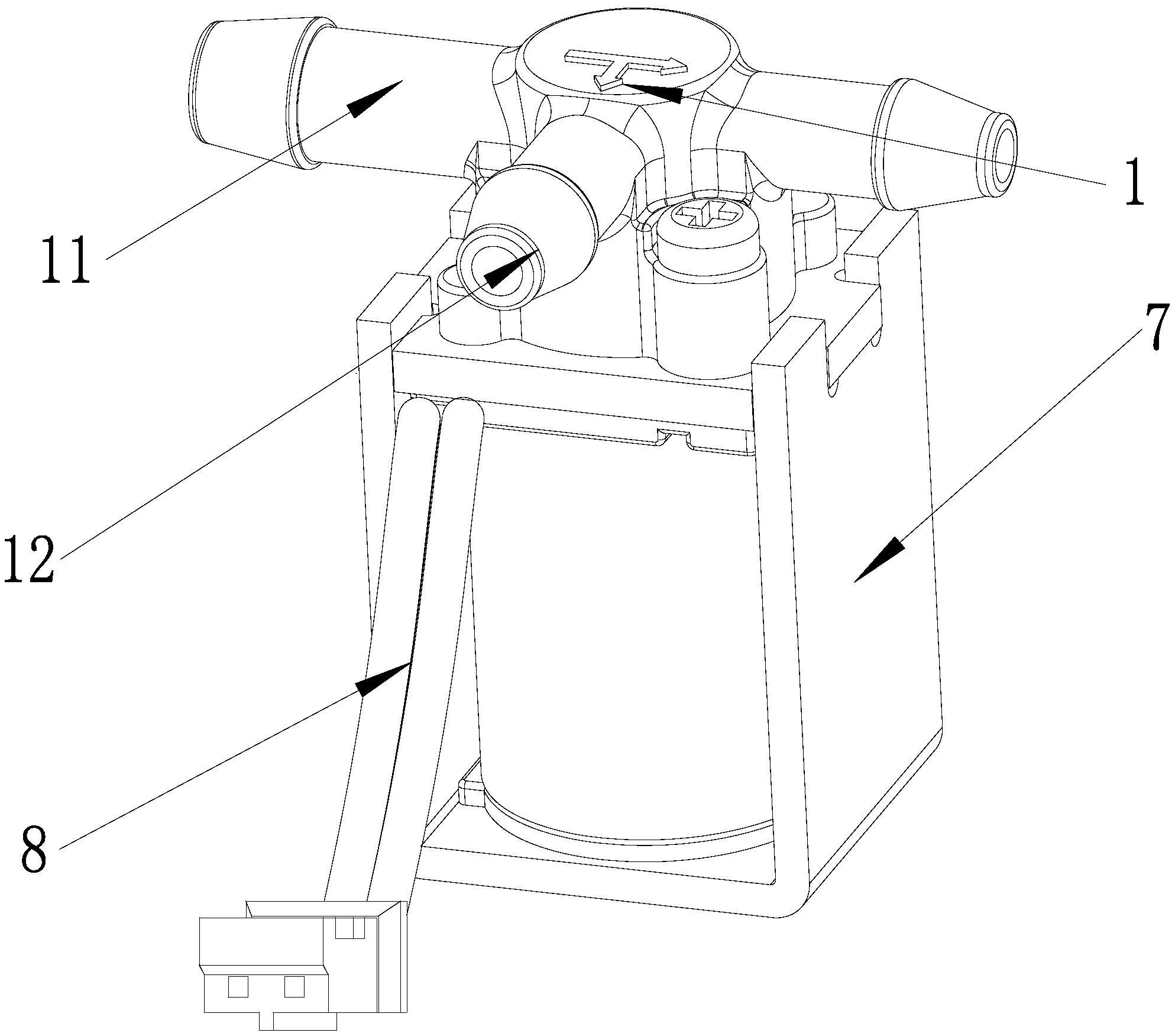
专利摘要:本发明公开了一种先导阀,包括本体,所述本体内设置有进水道和出水道,所述进水道与出水道之间设置有能活动的堵水件,所述堵水件上设置有弹性件、第一过水孔和第二过水孔,所述第一过水孔与第二过水孔之间设置有蓄水腔,所述堵水件还配合连接有密封件,所述密封件上设置有能与第二过水孔相通的第三过水孔,所述第三过水孔还与出水道相通,所述密封件还配合连接一控制件,所述控制件与密封件之间设置有第一弹簧,所述控制件上设置高台阶面和低台阶面,所述控制件还配合连接一旋钮,所述旋钮上设置有能与高台阶面或低台阶面配合的筋条,所述本发明通过上述结构的设计,降低了用户切换旋钮时的施力大小。
今年以来建霖家居新获得专利授权70个,较去年同期增加了42.86%。结合公司2024年年报财务数据,2024年公司在研发方面投入了2.63亿元,同比增10.29%。
数据来源:天眼查APP
以上内容为证券之星据公开信息整理,由AI算法生成(网信算备310104345710301240019号),不构成投资建议。
