证券之星消息,根据天眼查APP数据显示江苏雷利(300660)新获得一项发明专利授权,专利名为“一种有刷直流电机”,专利申请号为CN201910142577.9,授权日为2025年6月3日。
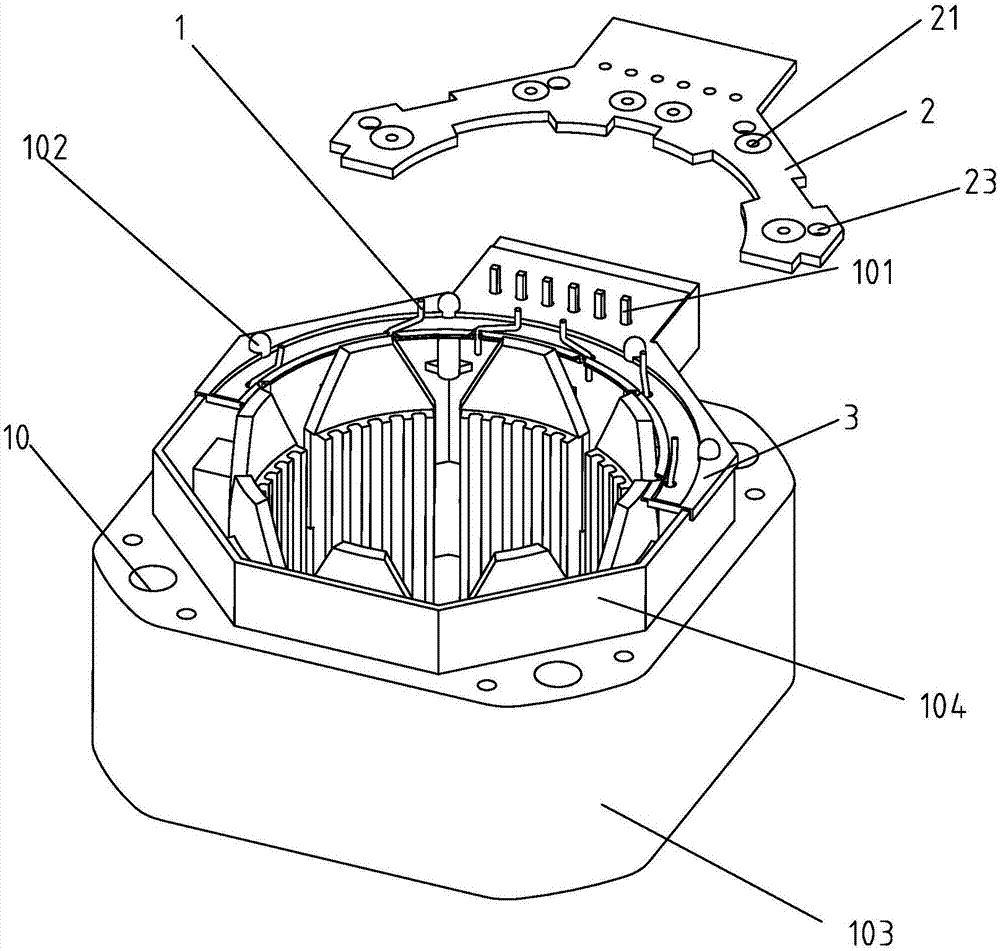
专利摘要:本发明提供了一种有刷直流电机,包括定子和转子,定子的多对定子磁极沿壳体的圆柱形腔体的内壁均匀分布,转子的铁芯设置在圆柱形腔体内,其具有沿圆周方向均匀分布的多个铁芯齿,相邻的铁芯齿限定铁芯槽,绕组布置在所述铁芯槽中,绕组经由换向器和电刷接收直流电流。当任一铁芯齿的中心线位于一对相邻定子磁极中间的非稳定平衡位置时,其它铁芯齿的中心线均不处于其余相邻定子磁极中间的非稳定平衡位置。相对于一对定子磁极的情况,本发明的电机的绕组节距显著减小,导线的无效部分减少,提高了材料的利用率;而且,转子的齿槽转矩减小,电机振动和噪音问题得以改善。

图片来源于网络,如有侵权,请联系删除
今年以来江苏雷利新获得专利授权57个,较去年同期增加了90%。结合公司2024年年报财务数据,2024年公司在研发方面投入了1.68亿元,同比增14.46%。
数据来源:天眼查APP

图片来源于网络,如有侵权,请联系删除
以上内容为证券之星据公开信息整理,由AI算法生成(网信算备310104345710301240019号),不构成投资建议。
