证券之星消息,根据天眼查APP数据显示博众精工(688097)新获得一项发明专利授权,专利名为“一种更换玻璃卡塞的设备”,专利申请号为CN202211701956.5,授权日为2025年5月30日。
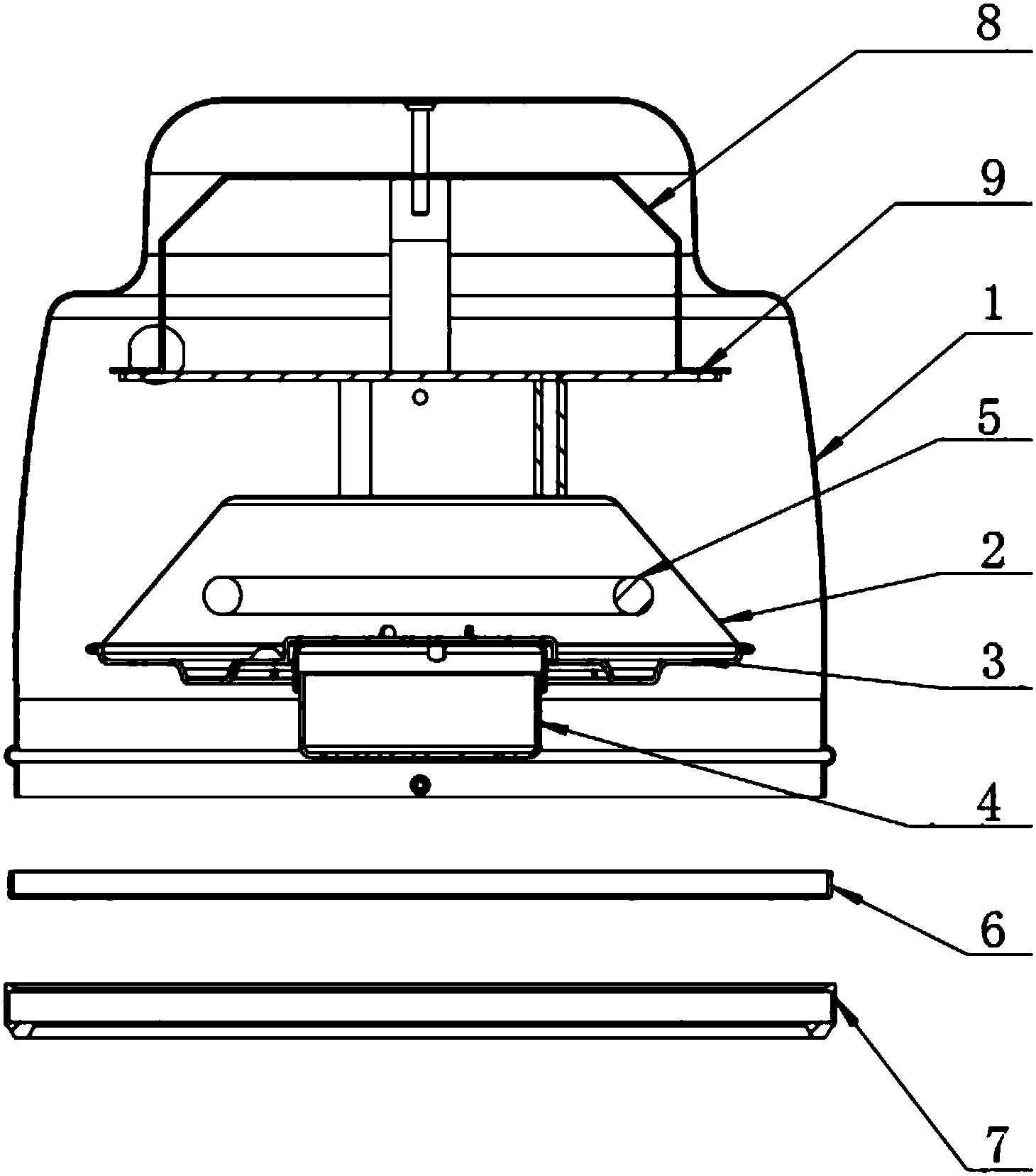
专利摘要:本发明属于自动化技术领域,公开一种更换玻璃卡塞的设备,包括清洗卡塞运转装置、强化卡塞转运装置、取料视觉拍照装置、收料视觉拍照装置和取放机械手装置。第一双层滚筒组件上层接收流入的满料清洗卡塞,第一双层滚筒组下层接收流出的空料清洗卡塞;第二双层滚筒组件下层接收流入的空料强化卡塞,第二双层滚筒组件上层接收流出的满料强化卡塞;取料视觉拍照装置对满料清洗卡塞拍照定位;收料视觉拍照装置对空料强化卡塞拍照定位;机械手本体驱动取料吸盘组件吸取满料清洗卡塞的玻璃并放入空料强化卡塞。本发明的更换玻璃卡塞的设备通过机械手实现玻璃在不同卡塞之间的转移,转移效率高,避免人工操作给玻璃表面留下痕迹进而影响产品良率。
今年以来博众精工新获得专利授权63个,较去年同期减少了60.13%。结合公司2024年年报财务数据,2024年公司在研发方面投入了5.14亿元,同比增3.4%。

图片来源于网络,如有侵权,请联系删除
数据来源:天眼查APP
以上内容为证券之星据公开信息整理,由AI算法生成(网信算备310104345710301240019号),不构成投资建议。

图片来源于网络,如有侵权,请联系删除
