证券之星消息,根据天眼查APP数据显示晶合集成(688249)新获得一项发明专利授权,专利名为“半导体结构及其形成方法”,专利申请号为CN202510294702.3,授权日为2025年5月16日。
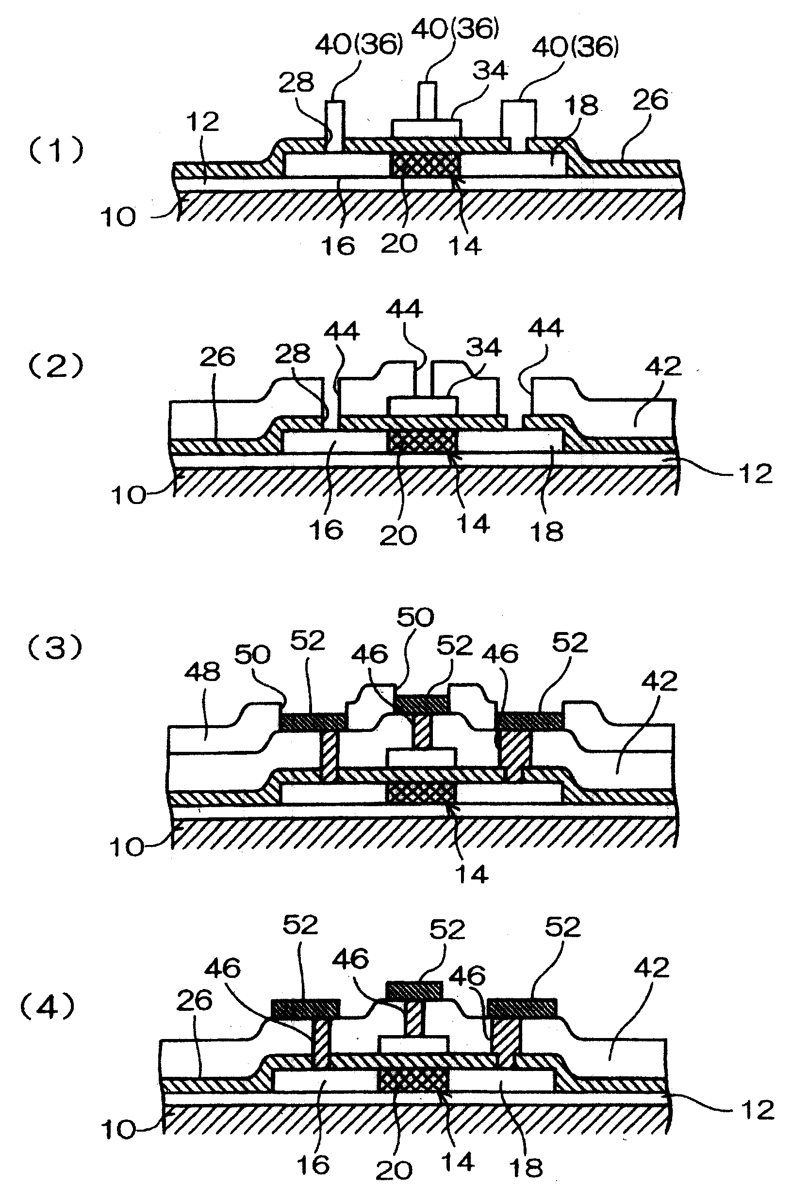
专利摘要:本发明提供半导体结构及其形成方法,先执行第一等离子体处理工艺,在NMOS器件的侧墙、PMOS器件的侧墙上以及浅沟槽隔离结构的表面上形成氢氧键;然后执行第二等离子体处理工艺,第二等离子体处理工艺中的气体与氢氧键反应生成特征反应基团,接着形成掩膜层,特征反应基团与掩膜层中的水生成游离的氢氧根离子,在曝光工艺中,光穿过掩膜层进入浅沟槽隔离结构内进行多次反射,在相邻NMOS器件和PMOS器件之间的沟道底部的掩膜层中产生的光酸超过预设值,游离的氢氧根离子与过度曝光产生的过量光酸发生中和反应,以使掩膜层中的光酸符合预设值,意想不到的效果是,显著改善了掩膜层中侧切的问题,提高了产品的良率。

图片来源于网络,如有侵权,请联系删除
今年以来晶合集成新获得专利授权136个,较去年同期增加了7.94%。结合公司2024年年报财务数据,2024年公司在研发方面投入了12.84亿元,同比增21.41%。
数据来源:天眼查APP
以上内容为证券之星据公开信息整理,由AI算法生成(网信算备310104345710301240019号),不构成投资建议。

图片来源于网络,如有侵权,请联系删除
