证券之星消息,根据天眼查APP数据显示格力电器(000651)新获得一项实用新型专利授权,专利名为“一种夹具”,专利申请号为CN202421850102.8,授权日为2025年5月13日。
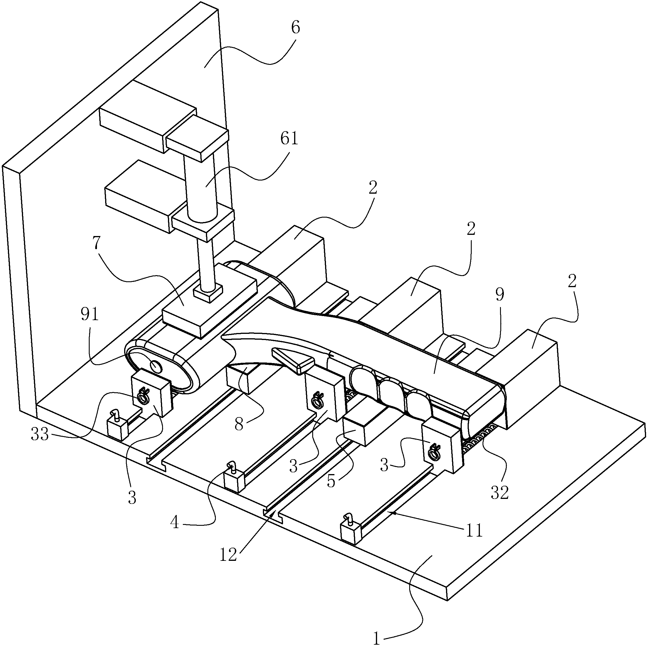
专利摘要:本实用新型公开了一种夹具,用于夹紧曲轴,包括轴套组件、固定组件以及定位盘,曲轴的第一端穿入轴套组件的第一端内且两者固定,轴套组件的第一端穿过定位盘后位于固定组件内部,固定组件能够夹紧定位;轴套组件能够带动曲轴沿定位盘的径向移动,以使得曲轴的偏心圆的中心与固定组件的中心处于同一直线。本实用新型提供的夹具能够对应不同偏心量的曲轴,在加工偏心圆时,不需要对夹具进行频繁更换,仅需要通过轴套组件调整曲轴的位置,使当前曲轴的偏心圆的中心与固定组件的中心处于同一直线即可,解决了频繁更换夹具对加工效率造成的影响。
今年以来格力电器新获得专利授权2174个,较去年同期减少了7.09%。结合公司2024年年报财务数据,2024年公司在研发方面投入了69.04亿元,同比增2.1%。

图片来源于网络,如有侵权,请联系删除
数据来源:天眼查APP
以上内容为证券之星据公开信息整理,由AI算法生成(网信算备310104345710301240019号),不构成投资建议。
