证券之星消息,根据天眼查APP数据显示南兴股份(002757)新获得一项发明专利授权,专利名为“封边机涂胶机构的防漏降低磨损结构”,专利申请号为CN202010349625.4,授权日为2025年5月9日。

图片来源于网络,如有侵权,请联系删除
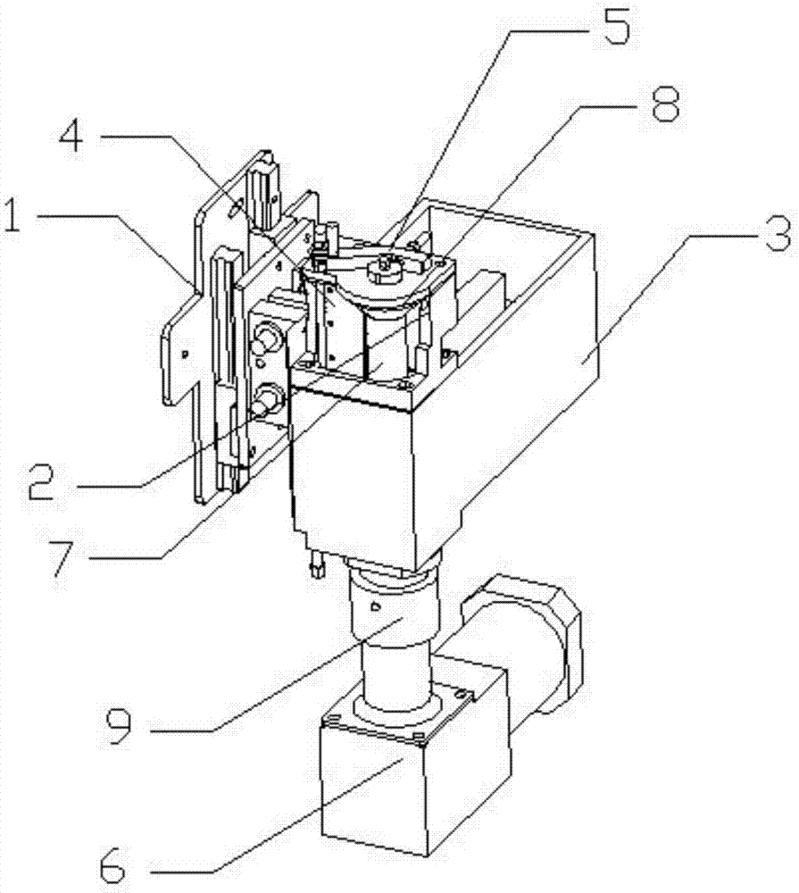
专利摘要:本发明公开了一种封边机涂胶机构的防漏降低磨损结构,包括有溶胶箱体、支撑架、上支承座、下支承座、主动涂胶轴及被动涂胶轴;该支撑架设置有支承座套和导流套,该支承座套设置有第一轴承和第一垫片;该上支承座设置有两个第一轴孔,该第一轴孔设置有第一轴向密封圈、第一端面密封圈及第二轴承;该下支承座设置有第二轴孔,该第二轴孔设置有第二轴向密封圈、第二端面密封圈及第三轴承。采用轴向及端向密封结构,能够有效地解决了主动涂胶轴及被动涂胶轴容易发生热熔胶渗入轴承内的问题,保证热熔胶不会渗入到轴承内与其结合,从而降低了主动涂胶轴、被动涂胶轴与轴承之间的损耗,提高其使用寿命,降低维护成本。
今年以来南兴股份新获得专利授权17个,较去年同期减少了26.09%。结合公司2024年年报财务数据,2024年公司在研发方面投入了1.39亿元,同比增0.33%。
数据来源:天眼查APP

图片来源于网络,如有侵权,请联系删除
以上内容为证券之星据公开信息整理,由AI算法生成(网信算备310104345710301240019号),不构成投资建议。
