证券之星消息,根据天眼查APP数据显示京东方A(000725)新获得一项发明专利授权,专利名为“一种显示面板及其制作方法、以及显示装置”,专利申请号为CN202110471747.5,授权日为2025年5月9日。
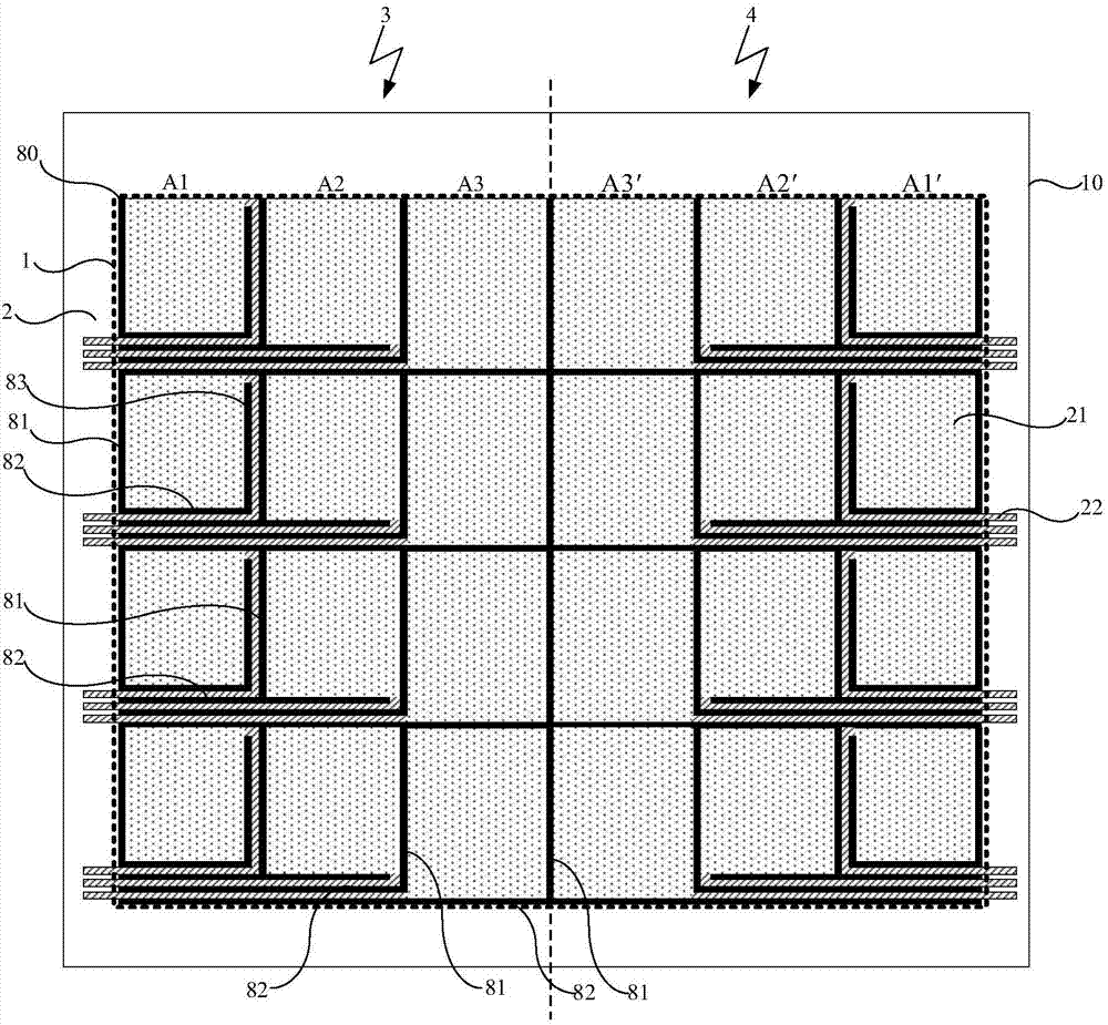
专利摘要:本发明公开了一种显示面板及其制作方法、以及显示装置,其中本发明实施例的显示面板包括第一基板、第二基板、以及设置在第一基板和第二基板之间的液晶层,还包括设置在非显示区上的至少一个介质叠高部,其中第二基板包括与介质叠高部对应设置的具有多个开孔的隔物壁,隔物壁和介质叠高部用于在第二基板与第一基板对盒时形成支撑。本发明提供的显示面板通过在非显示区上设置至少一个介质叠高部并在第二基板设置与介质叠高部对应设置的具有多个开孔的隔物壁,使得对盒时在不影响液晶流动的情况下,通过介质叠高部和隔物壁能够对显示面板的非显示区起到良好的支撑作用,避免周边漏光,具有广泛的应用前景。
今年以来京东方A新获得专利授权1560个,较去年同期增加了8.03%。结合公司2024年年报财务数据,2024年公司在研发方面投入了131.23亿元,同比增15.94%。

图片来源于网络,如有侵权,请联系删除
数据来源:天眼查APP

图片来源于网络,如有侵权,请联系删除
以上内容为证券之星据公开信息整理,由AI算法生成(网信算备310104345710301240019号),不构成投资建议。

