证券之星消息,根据天眼查APP数据显示中国天楹(000035)新获得一项实用新型专利授权,专利名为“一种多槽滑轮”,专利申请号为CN202421477285.3,授权日为2025年5月6日。

图片来源于网络,如有侵权,请联系删除
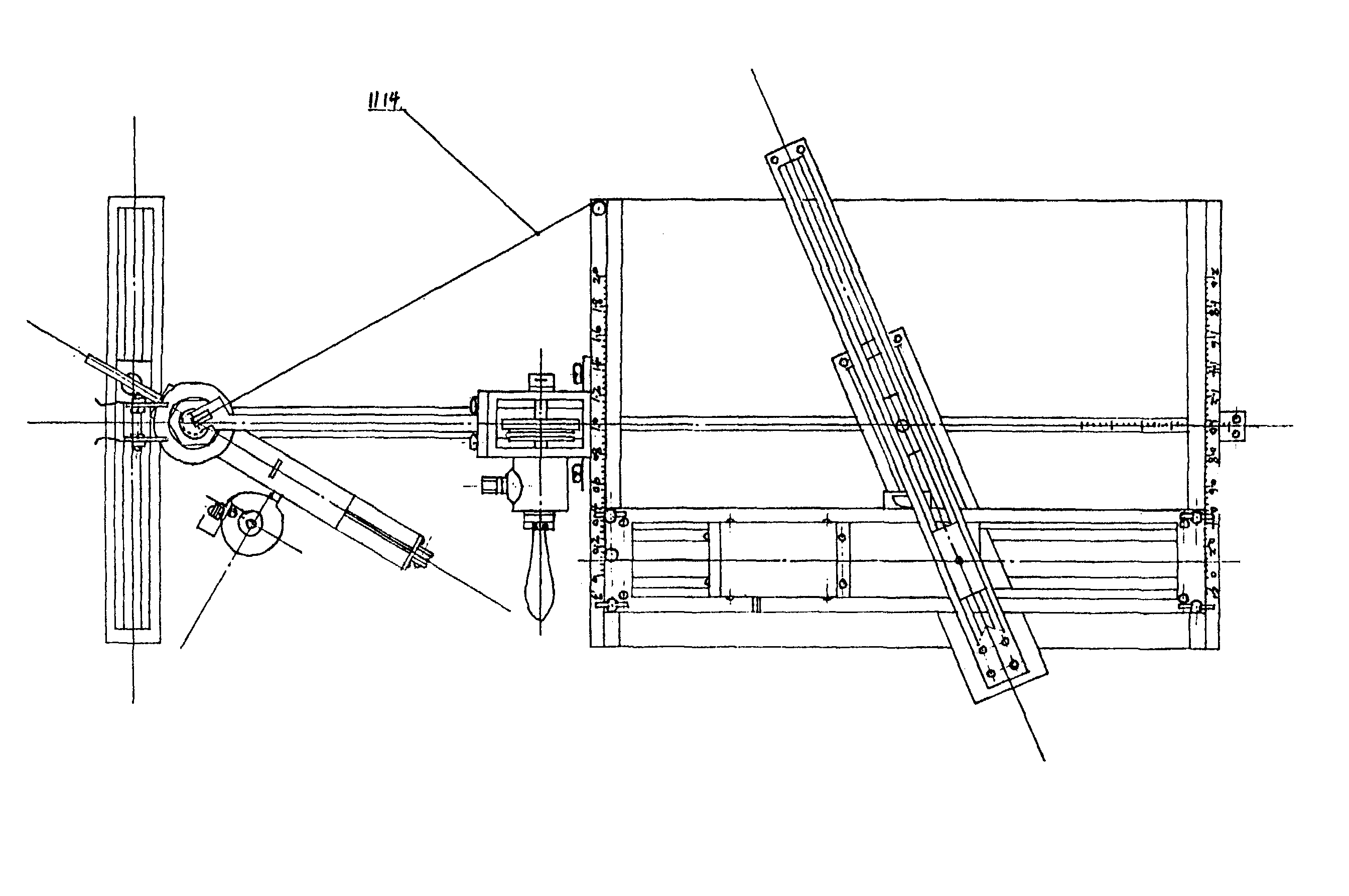
专利摘要:本实用新型公开了一种多槽滑轮,涉及涉及升降机滑轮技术领域,解决了现有的多绳槽滑轮一体成型,在绳索穿绕作业时会多个绳槽会相互影响,降低安装效率;而多个独立滑轮通过各自的滚动轴承安装,其多个滚动轴承的安装、维护工作量大、成本高的问题。包括滑轮轴,滑轮轴两端分别设有第一轴承,滑轮轴通过第一轴承转动连接于轴承座;滑轮轴上设有若干第二轴承,滑轮组上通过第二轴承转动连接对应的滑轮单体;第二轴承转动时的阻力大于第一轴承。通过两种轴承在同一滑轮系统中的引入,一种实现转动,一种方便加工和调试,并联多个具有独立绳槽的滑轮,在低成本下实现了绳索的便捷穿绕、张力独立调节,大幅提高了安装调试效率和绳索寿命一致性。
今年以来中国天楹新获得专利授权20个,较去年同期减少了16.67%。结合公司2024年年报财务数据,2024年公司在研发方面投入了9494.71万元,同比增32.36%。
数据来源:天眼查APP
以上内容为证券之星据公开信息整理,由AI算法生成(网信算备310104345710301240019号),不构成投资建议。
