证券之星消息,根据天眼查APP数据显示ST智云(300097)新获得一项实用新型专利授权,专利名为“立式高压泵系统”,专利申请号为CN202421651612.2,授权日为2025年5月6日。

图片来源于网络,如有侵权,请联系删除
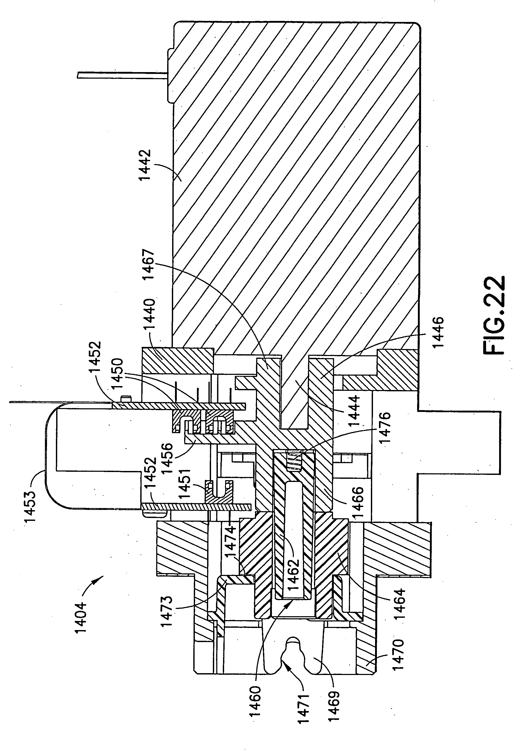
专利摘要:本实用新型立式高压泵系统,涉及高压水泵技术领域,尤其涉及一种用于汽车零部件清洗机中的立式高压泵系统。本实用新型的供水泵、布袋式过滤器和高压泵头依次串连,供水泵将清洗液供入布袋式过滤器过滤后打入高压泵头,产生高压清洗液;减速电机和高压泵头之间通过传动装置相连接;冷却装置的一部分设置于设备机架上,另一部分设置于设备机架内,设置于设备机架内的一部分与高压泵头相连接;设备机架将系统各部分包裹其内,并通过安装在其上的外部防护对各部件进行保护。本实用新型的技术方案解决了现有技术中的汽车零部件高压清洗时使用的高压泵系统占地面积过大、过滤系统不稳定、设备运行噪音大、不停机情况下能耗高和价格高昂等问题。

图片来源于网络,如有侵权,请联系删除
今年以来ST智云新获得专利授权2个,较去年同期减少了60%。结合公司2024年年报财务数据,2024年公司在研发方面投入了4699.34万元,同比减28.7%。
数据来源:天眼查APP
以上内容为证券之星据公开信息整理,由AI算法生成(网信算备310104345710301240019号),不构成投资建议。
