证券之星消息,根据天眼查APP数据显示电气风电(688660)新获得一项发明专利授权,专利名为“具有润滑油路的销轴、支撑组件及齿轮箱”,专利申请号为CN202210699747.5,授权日为2025年4月22日。

图片来源于网络,如有侵权,请联系删除
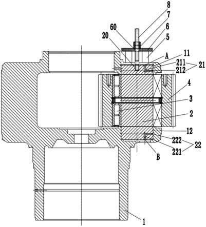
专利摘要:本发明公开了一种具有润滑油路的销轴、支撑组件及齿轮箱,销轴的侧面用于支撑齿轮,销轴的内部的第一流道自销轴的端面延伸,并与销轴的侧面连通;第二流道的两端分别与销轴的侧面和储油腔室连通,以使润滑油在销轴的侧面和储油腔室之间流动;第一流道和第二流道与侧面连通的位置,均位于侧面用于支撑齿轮的区域内;且第一流道和第二流道位于销轴的侧面的不同位置处。采用本发明,润滑油能够从销轴的端面向侧面流动,以对销轴和齿轮之间的区域的进行润滑。当润滑油过多时,润滑油能够从第二流道和销轴的连通处进入储油腔室内。储油腔室内的润滑油还可以从第二流道和销轴的连通处流向销轴和齿轮之间进行润滑,使得摩擦面能够充分润滑。
今年以来电气风电新获得专利授权10个,较去年同期减少了73.68%。结合公司2024年年报财务数据,2024年公司在研发方面投入了6.23亿元,同比减5.34%。
数据来源:天眼查APP
以上内容为证券之星据公开信息整理,由智能算法生成(网信算备310104345710301240019号),不构成投资建议。
