证券之星消息,根据天眼查APP数据显示中密控股(300470)新获得一项实用新型专利授权,专利名为“一种双注油嘴清洗润滑机构”,专利申请号为CN202421932570.X,授权日为2025年4月22日。
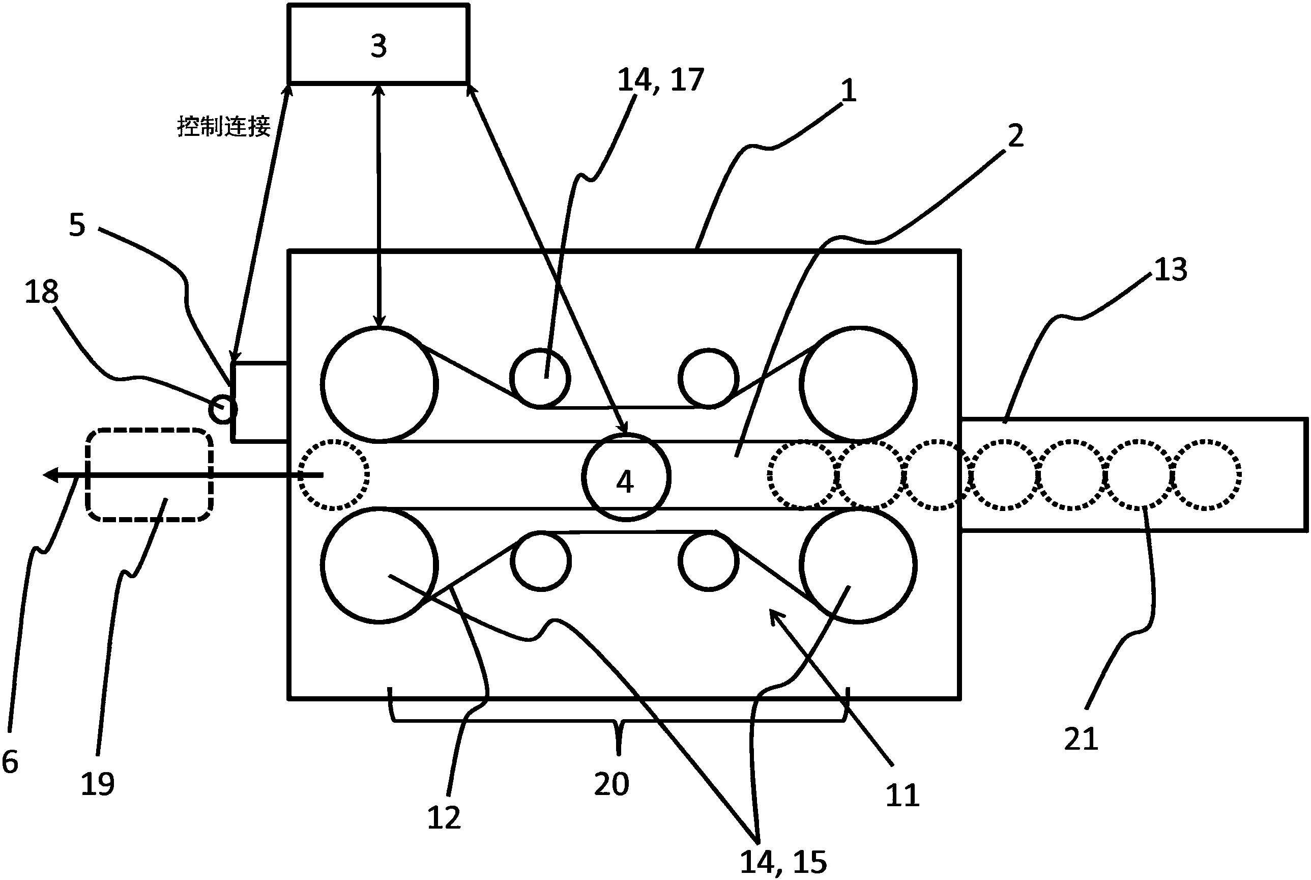
专利摘要:本申请涉及一种双注油嘴清洗润滑机构,涉及乙炔裂解的技术领域,清洗润滑机构包括设置在炉体侧壁上并供球体转动而设置的固定座,固定座与球体之间设置有密封腔室,固定座上设置有对密封腔室内进行注入润滑油并将杂质排出密封腔室的清洗润滑组件,球体内转动设置有操作连杆且操作连杆可在球体内滑移并通过第一注油杯对球体与操作连杆之间提供润滑油。本申请通过第一注油杯向润滑腔内注入润滑油,便于对球体与操作连杆之间的转动或滑移进行润滑;通过清洗润滑组件向密封腔室内注入润滑油,便于对固定座与球体之间的转动进行润滑,同时清洗润滑组件将密封腔室内产生的杂质进行清洗排出,最终降低了操作过程中操作连杆出现卡阻的概率。

图片来源于网络,如有侵权,请联系删除
今年以来中密控股新获得专利授权7个,较去年同期增加了75%。结合公司2024年年报财务数据,2024年公司在研发方面投入了7577.2万元,同比增1.38%。
数据来源:天眼查APP
以上内容为证券之星据公开信息整理,由智能算法生成(网信算备310104345710301240019号),不构成投资建议。

图片来源于网络,如有侵权,请联系删除
