证券之星消息,根据天眼查APP数据显示京东方A(000725)新获得一项实用新型专利授权,专利名为“触控模组和显示装置”,专利申请号为CN202421461286.9,授权日为2025年4月22日。
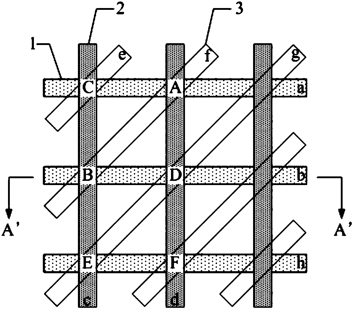
专利摘要:提供了一种触控模组和显示装置。触控模组包括:第一支撑层和设置于第一支撑层上的触控层;触控模组包括至少一个触控区和至少一个非触控区;触控层包括位于触控区的多个触控电极和多条触控走线,多个触控电极分别与多条触控走线电连接,用于发送或接收触控信号;触控层还包括位于非触控区的至少一个虚拟电极,虚拟电极未发送或接收触控信号。

图片来源于网络,如有侵权,请联系删除
今年以来京东方A新获得专利授权1405个,较去年同期增加了9.94%。结合公司2024年年报财务数据,2024年公司在研发方面投入了131.23亿元,同比增15.94%。
数据来源:天眼查APP
以上内容为证券之星据公开信息整理,由智能算法生成(网信算备310104345710301240019号),不构成投资建议。

